In the landscape of modern manufacturing and engineering, few questions are as pivotal as "who invented the 3D printer?" The answer points directly to Charles ("Chuck") W. Hull, the visionary who not only conceived the technology but also founded the industry that continues to reshape how the world builds everything from aircraft parts to surgical implants.
While many associate 3D printing with recent technological booms, its origins date back to the early 1980s. Chuck Hull invented 3D printing—specifically a process known as Stereolithography (SLA)—to solve a persistent problem in the manufacturing workflow: the time-consuming nature of prototyping. His innovation did not merely speed up product development; it created an entirely new category of manufacturing known today as additive manufacturing.
To understand the magnitude of this invention, professionals must look at the specific timeline of events, the patent filing dates that secured the technology, and the evolution of Hull’s work from a single "eye wash cup" to bioprinting human lungs.
The Spark of Invention: 1983 and the First 3D Printed Part
Before 3D printing existed, design engineers faced a significant bottleneck. Creating a prototype for a plastic part was a labor-intensive, one-off tooling process. It required designing injection molds, which often took six to eight weeks to produce. If the initial design was imperfect—a common occurrence in R&D—the team had to modify the tooling or start over, stretching the development cycle into a multi-month ordeal.
In 1983, Chuck Hull was working at UVP, Inc. (now Analytik Jena), a manufacturer of ultraviolet light sources. His work involved using UV light to cure varying materials. Observing the way these materials hardened when exposed to light, Hull hypothesized that if he could stack thin layers of plastic on top of one another and cure them with UV light, he could form three-dimensional objects.
On November 10, 1983, Hull successfully demonstrated this concept. He used his new process, Stereolithography, to create the first-ever 3D printed part: a simple eye wash cup. This small blue cup proved that digital data could be turned into a physical object in a matter of hours rather than weeks, effectively inventing the concept of rapid prototyping.
The first 3D printed part.
The Patent That Started an Industry: 1984
For professionals asking "Charles Hull filed for a patent in what year," the critical date is 1984.
Following his success in the lab, Hull wasted no time in securing the intellectual property rights for his invention. He filed his patent for the "Stereolithography Apparatus" (SLA) in 1984. This filing is historically significant because it marks the official documentation of the technology that would become the foundation of the additive manufacturing industry.
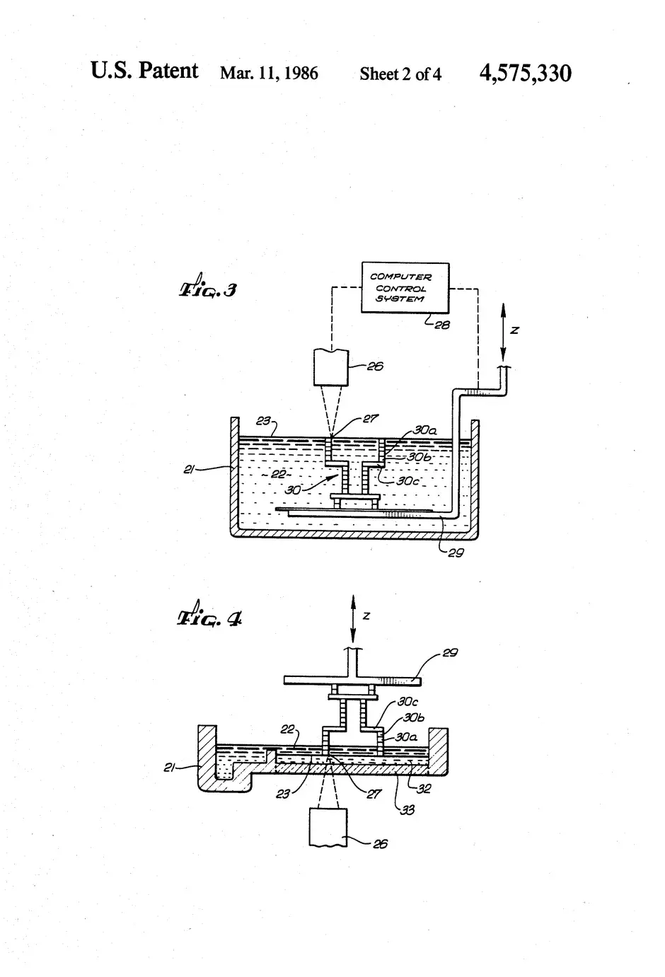
Stereolithography works by using a vat of liquid photopolymer resin. A computer-controlled UV laser beam traces a cross-section of the part on the surface of the liquid, hardening (curing) it. The platform then lowers, and the process repeats, building the object layer by layer. This patent described not just a machine, but a fundamental shift in manufacturing logic—adding material only where needed rather than subtracting it from a block.
Founding 3D Systems and Commercialization (1986-1988)
By 1986, Chuck Hull had co-founded 3D Systems to commercialize his technology. That same year, the company became the first 3D printing organization in the world. This move transitioned Stereolithography from a patent-pending concept to a commercially viable solution for engineers.
The industry saw its first hardware release in 1987, when 3D Systems commercialized the SLA-1 Stereolithography printer. This was the first 3D printer ever made available to the market. Early adopters were primarily in the automotive industry, which had a keen interest in "rapid prototyping" to accelerate vehicle design. For the first five years of the company's history, this rapid prototyping capability remained the primary application of the technology.
The ASME (American Society of Mechanical Engineers) has since designated the SLA-1 as a Historic Mechanical Engineering Landmark, recognizing its role in changing global manufacturing. The original machine is currently on display at the National Inventors Hall of Fame Museum in Alexandria, Virginia.
Recognition of a Legacy
The magnitude of Chuck Hull’s contribution began to receive major institutional recognition during this era. In 2014, he was inducted into the National Inventors Hall of Fame at the United States Patent and Trademark Office. That same year, he received the European Inventor Award in the non-European countries category for his transformative impact on society.
The European Patent Office (EPO) noted at the time that Hull had joined the ranks of figures like Henry Ford and Steve Jobs—people who made a lasting impact on humanity. By this point, Hull held numerous patents; specifically, he is a named inventor on 85 United States patents, plus numerous international patents in the fields of ion optics and 3D printing.
Chuck Hulls' exhibit at the National Inventors Hall of Fame
Innovations in Bioprinting and Honors (2015-Present)
Today, Chuck Hull continues to drive innovation. Far from retiring, he currently serves as the Chief Technology Officer at 3D Systems. His focus has shifted to the next frontier of additive manufacturing: bioprinting.
Hull is leading a team collaborating with United Therapeutics on a joint development program. Their goal is ambitious: to establish an unlimited supply of human lungs that require no immunosuppression. This technology aims to allow patients with end-stage lung disease to access tolerable, transplantable organs.
Read Chuck Hull's reflection on the Lake Nona Summit.
Chuck Hull with Former President, Joe Biden.
The accolades for his lifetime of work have continued to accumulate:
2016: Hull received the Manufacturing Leadership Lifetime Achievement Award.
2023: On October 24, 2023, President Joe Biden awarded Chuck Hull the National Medal of Technology and Innovation (NMTI) at the White House. This is the United States’ highest honor for technological achievement.
2025: In February 2025, Hull was elected to the National Academy of Engineering (NAE), one of the highest professional distinctions for an engineer.
The Enduring Impact of Chuck Hull
When asked about his contribution, Hull remains humble. "I should have retired long ago, but I haven’t," he has stated, noting that "3D printing is just another tool, but it’s a very powerful tool that can create anything."
For professionals utilizing 3D printers today—whether for aerospace turbine blades, dental aligners, or automotive prototyping—the technology traces back to that single spark of inspiration in 1983. Chuck Hull invented 3D printing not just by building a machine, but by reimagining the physics of manufacturing.
From filing the original SLA patent in 1984 to pioneering bioprinting in the 2020s, Hull’s career demonstrates that the definition of "manufacturing" is fluid. What started as a way to cure plastics with UV light has evolved into a mechanism for printing human tissue, proving that the industry he founded is still only scratching the surface of its potential.
-
In this article about the Lake Nona Impact Forum, Chuck Hull of 3D Systems reflects on the ideas, partnerships, and technologies shaping the next era of healthcare innovation.